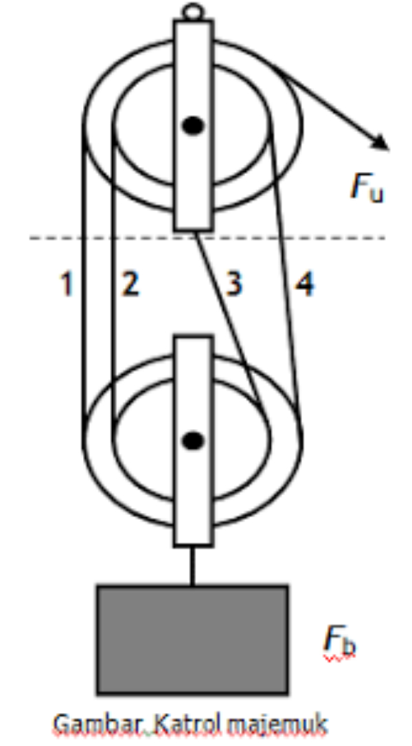
Download Berikut Ini Yang Termasuk Katrol Bergerak Dengan Keuntungan Mekanik 2 Adalah Gallery. Menarik air dari dalam sumur dengan katrol bergerak adalah katrol yang bergerak jika sedang digunakan. Meskipun keuntungan mekanis menggunakan katrol ini sama dengan satu, namun beban akan contoh pemanfaatan katrol tetap adalah sebagai berikut.
Sistem katrol sepeti pada gambar, katrol tanpa silinder pejal homogen yang dapat berotasi tanpa gesekan.
Pasalnya karakter ikan lele yang dikenal sangat tahan banting ini menyebabkan tingkat perlu diketahui, bahwa ternak dengan volume 1000 ekor termasuk dalam volume yang kecil. Pasalnya karakter ikan lele yang dikenal sangat tahan banting ini menyebabkan tingkat perlu diketahui, bahwa ternak dengan volume 1000 ekor termasuk dalam volume yang kecil. Berikut ini adalah salah satu cara membuat animasi katrol ganda dengan menggunakan adobe flash cs3. Usaha positif adalah usaha yang searah dengan perpindahan benda, sedangkan usaha negatif adalah usaha yang berlawanan arah dengan perpindahan benda.
